Today you we are going to start with a new topic:
The Road to War…

1.

It gives a brief overview of the steps to WW2…
The video. (2:39 minutes long)
2.

(Remember, this is merely a brief overview… Ultimately, you need to know all the events in detail!)



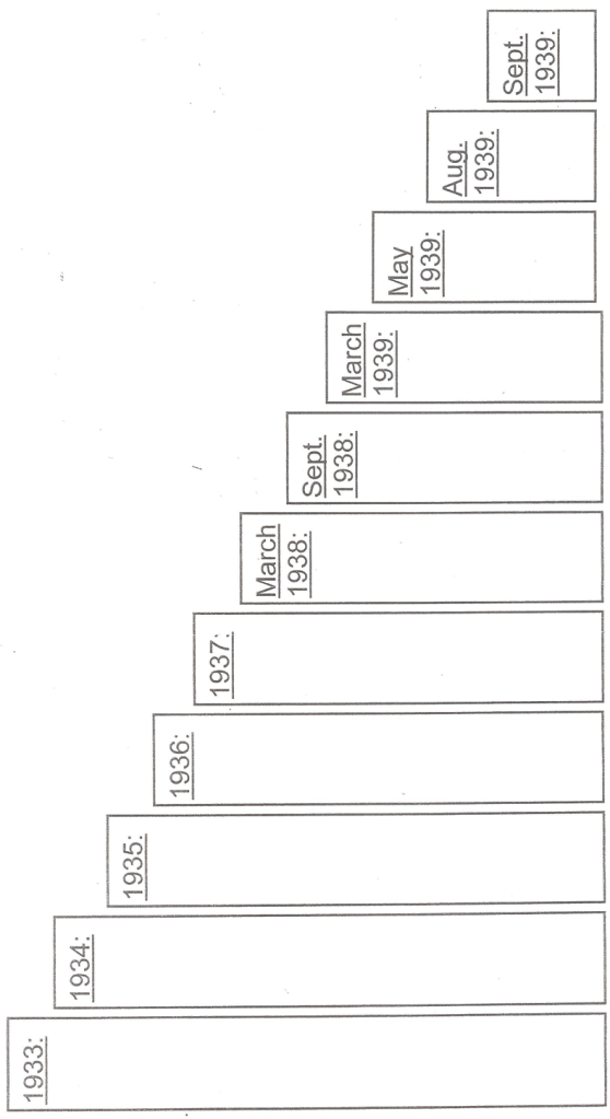
3.
Complete the steps diagram (provided):


4.
Now, let’s see what you already know. Can you match the terms with their explanations…

Terminology and Places relevant to this topic…

Complete the Terminology table by cutting and pasting the relevant information in the corresponding places on the table.







OR: complete the task online
First see what you know by completing the matching task below.
(Click on OK to start.)
Then, click on the button below, to test yourself again:
5.


& mark your work with a pencil:
Road to War – Terminology & Places. (2:07 minutes long)
6.

The video below discusses Hitler’s foreign policy aims. His aims played a significant role in the events that led to the outbreak of World War Two in September 1939. (There is no presenter in this video – you need to read the information as the video plays…)
NAZI FOREIGN POLICY: Hitler’s foreign policy goals 1933. (4:55 minutes long)
7.

Read pages 1-2, “The Revival of Germany, 1933-35”.
8.

Complete the “Work section” on page 9 of your textbook.
Stick the map (provided) into your book and then follow the instructions on page 2.



(WordPress advertisements may appear below.)

